首页 展会资讯 电梯资讯 新增2家电梯检测公司!大半年开6家分公司!

新增2家电梯检测公司!大半年开6家分公司!

来源: 聚展网 2023-09-04 08:50:52 456 分类: 电梯资讯

前面我们刊发了《又有3家取得了电梯检测资质!快速增长!》,根据电梯人提供的信息,又找到两年取得电梯检测资质(TC)的公司。

想要做电梯检测业务,要抓紧了,吃肉喝汤大概率也就是最近这几年的事情,用不了几年,可能要走维保的路子。到时候检测一台电梯极可能也是白菜价。当然,这种局面是我们大家都不想看到的。可是激烈的竞争中,再加上如果资质证书发放的太多,监管不严,就会造成恶意低价竞争。

明年电梯检测全面放开,今年就要做好全部的准备了,包括各个分公司开办。

摩根快科(信阳)技术股份有限公司成立于2022年,公司注册在河南省南阳市。公司法定代表人:冯伦华。他的股东是两个公司,但是我们通过股份穿透,背后的股东是:王国涛(持股40.5%)、冯伦华(持股38.5%)、陈俊、江厚萍。

这个公司2023年5月19日取得电梯检测资质(TC)。

图片


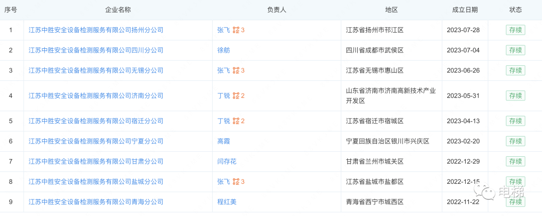
江苏中胜安全设备检测服务有限公司成立于2021年,注册资本1000万元,公司法定代表人吴翠平。

这个公司一共有5个股东,李建武持股25%,吴翠平持股25%,陈广志持股20%,吴洪山持股20%,徐美芹持股10%。一般来说,股份太分散也不太好。

不过这个公司这两年发生非常迅速,去年成立了3家分公司,今年成立了6家分公司。

2022年10月13日取得电梯检测资质。

图片

图片


图片

图片


前几天我们刊发了《电梯检测公司哭了!广东不放开!》,很多人问会不会全国很多省市跟进广东这个政策,也就是检测变相的不放开了。这个不会的,如果有地方跟进也只能是湖北和天津有跟进的条件(电梯定期检验免费),其他省市不具备这个条件。并且广东也不一定能守住电梯检测不放开,广东不放开电梯检测的政策其实是和总局的指导文件相违背的,总局发布的《总局发布:《电梯安全筑底三年行动方案(2023—2025年)》的通知!》。

图片

(总局文件)

图片

(广东省的文件)

广东这个政策估计会遭到电梯检测公司向总局的投诉。至于这个政策能不能执行的下去,我们静观其变。


图片

文章推荐:
(1)电梯检测公司被中介举报有人挂证!可怕的是……
(2)电梯检测公司哭了!广东不放开!
(3)6.3%!电梯检验员考试通过率创新低!
(4)19.4%!江苏电梯检验员考试通过率真低!

电梯安装工/维保工保险/电梯责任险



电梯雇主责任险、电梯责任险、火热销售中,小投入大保障,大品牌值得信赖!收到保单以后拨打保险公司官方客服电话,即可核实你的投保信息。正规保险,有发票。:(同微信号)

图片


长按这个二维码免费

商务合作请致电:

声明:文章部分图文版权归原创作者所有,不做商业用途,如有侵权,请与我们联系删除。
来源:聚展网
展位咨询
电梯行业展会
广州国际电梯展览会
2024.08.23-08.25
Elevator Guangzhou
德国纽伦堡电梯展览会
2025.10.14-10.17
INTERLIFT
美国电梯展览会
2024.09.23-09.26
NAEC
俄罗斯莫斯科电梯展览会
2025.06.07-06.09
Russian Elevator Week
巴西圣保罗电梯展览会
2025.05.06-05.08
Expo Elevador
越南胡志明电梯展览会
2024.12.05-12.07
VIETNAM ELEVATOR EXPO
土耳其伊斯坦布尔电梯展览会
2025.04.24-04.27
Asansör Istanbul
阿尔及利亚电梯展览会
2024.04.22-04.24
LIFT EXPO ALGERIA
中东迪拜电梯展览会
2024.09.16-09.18
Elevator Show
  • icon 电话
    展位咨询:0571-88683357
    观众咨询:0571-88611413
  • icon 客服
  • icon 我的
  • icon 门票
  • 展位
    合作
Baidu
map