首页 展会资讯 电梯资讯 起诉碧桂园12家关联公司,永大电梯出手!

起诉碧桂园12家关联公司,永大电梯出手!

来源: 聚展网 2023-09-03 19:26:32 229 分类: 电梯资讯

8月10日,碧桂园(02007.HK)发布公告,预计今年上半年净亏损在450亿元至550亿元之间。

截至6月底,碧桂园的总资产约1.62万亿元,总负债约1.36万亿元,净资产约0.26万亿元,尚未出现资不抵债的情况。

碧桂园的危机到底严重不严重,这个从总负债来看确实是相当吓人的,1.36万亿元,这天文数字,对普通的人来说是多么遥不可及。想起网友一说的:

我活了半辈子,给祖宗烧的纸钱都没这么多。

图片

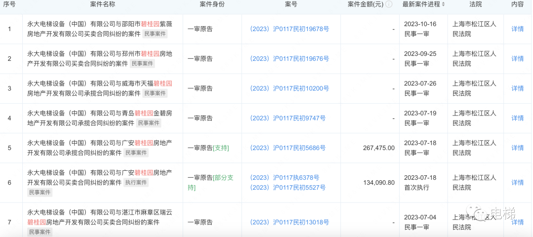
永大电梯也许是意识到了碧桂园困难的严重性或者是回款不理想,在今年一共起诉了12家碧桂园的关联公司。这12家地产公司有碧桂园参股公司,有全资关联公司。

这12家房地产企业分别是:

邵阳市碧桂园紫薇房地产开发有限公司

邳州市碧桂园房地产开发有限公司

威海市天福碧桂园房地产开发有限公司

青岛碧桂园金碧房地产开发有限公司

广安碧桂园房地产开发有限公司

湛江市麻章区瑞云碧桂园房地产开发有限公司

东莞市谢岗碧桂园产城发展有限公司

南部县碧桂园房地产开发有限公司

重庆市涪陵区碧桂园江城房地产开发有限公司

图片

图片


永大电梯四川分公司起诉了南充碧桂园碧成房地产开发有限公司

图片

永大电梯设备(中国)有限公司贵州分公司起诉了贵州仁怀碧桂园房地产开发有限公司、凯里碧桂园房地产开发有限公司

图片

图片


电梯款在房地产开发中的占比是极其小的一部分,如果电梯款都付不上来了,说明真困难了。这12个起诉中我们以永大电梯与广安碧桂园房地产开发有限公司为例,广安碧桂园一共欠了永大电梯货款加上安装费一共才13.4万,就这闹到了法院,2023年7月18日法院还进行了强制执行。

当然这里面可能有一部分是双方存在纠纷,这个也很难说,但是不可能全部是纠纷。

永大电梯2022年官微发的电梯项目里还有碧桂园的,比如2022年2月21发的一个70多台的客梯项目。

图片

永大电梯是从2013年开始做碧桂园的电梯项目,然后成了其战略合作伙伴。

图片


文章推荐:
(1)收购碧桂园旗下电梯厂,可以动手了!
(2)干货:电梯无脚手架安装安全培训PPT!
(3)干货:曳引式电梯悬挂系统值得注意的一些问题
(4)国外电梯对重神作!给大神跪了!

电梯安装工/维保工保险/电梯责任险



电梯雇主责任险、电梯责任险、火热销售中,小投入大保障,大品牌值得信赖!收到保单以后拨打保险公司官方客服电话,即可核实你的投保信息。正规保险,有发票。:(同微信号)

图片


长按这个二维码免费

商务合作请致电:

声明:文章部分图文版权归原创作者所有,不做商业用途,如有侵权,请与我们联系删除。
来源:聚展网
展位咨询
电梯行业展会
广州国际电梯展览会
2024.08.23-08.25
Elevator Guangzhou
德国纽伦堡电梯展览会
2025.10.14-10.17
INTERLIFT
美国电梯展览会
2024.09.23-09.26
NAEC
俄罗斯莫斯科电梯展览会
2025.06.07-06.09
Russian Elevator Week
巴西圣保罗电梯展览会
2025.05.06-05.08
Expo Elevador
越南胡志明电梯展览会
2024.12.05-12.07
VIETNAM ELEVATOR EXPO
土耳其伊斯坦布尔电梯展览会
2025.04.24-04.27
Asansör Istanbul
阿尔及利亚电梯展览会
2024.04.22-04.24
LIFT EXPO ALGERIA
中东迪拜电梯展览会
2024.09.16-09.18
Elevator Show
  • icon 电话
    展位咨询:0571-88683357
    观众咨询:0571-88611413
  • icon 客服
  • icon 我的
  • icon 门票
  • 展位
    合作
Baidu
map