首页 展会资讯 电梯资讯 厂房起大火!电梯公司法定代表人被采取刑事强制措施!

厂房起大火!电梯公司法定代表人被采取刑事强制措施!

来源: 聚展网 2023-09-02 07:48:31 113 分类: 电梯资讯

2023年8月29日赣州市应急管理局官微发布了《违法违规电气焊作业,重罚!赣州38起典型案例曝光》,里面的第一个案例是:

图片

图片

着火的厂房位置如下:图片

这次火灾造成了2人死亡,多人受伤,这也是上面很多人以涉嫌重大责任事故罪采取刑事强制措施的原因。

图片


江西住友富士电梯有限公司成立于2017年,注册资本5000万元,根据2022年年报显示其缴纳社保的员工才4人。

图片

图片

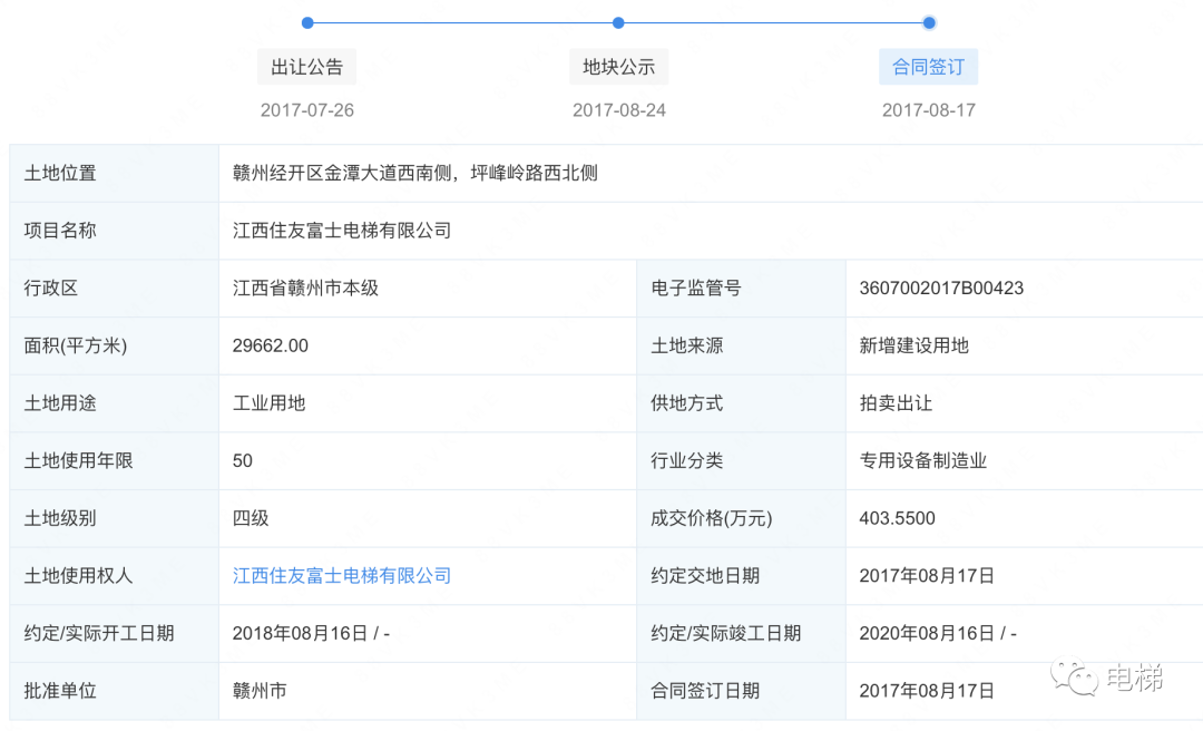
2017年江西住友富士电梯以403.55万元的价格拿到了29662平方米(大约44.5亩,)的工业用地。根据当时的环评显示,这块地是要建设一个电梯厂,年产电梯4500台。

图片

图片

图片


江西住友富士电梯有限公司最早的时候(2017年)是住友富士电梯有限公司和李阗联合创办,当时住友富士电梯有限公司持股80%,李阗持股20%。

2017年5月26日,江西住友富士电梯有限公司注册资本变更为20600万元(2.06亿元)。

2018年12月24日,李阗退股,住友富士电梯有限公司变成了江西住友富士电梯有限公司的唯一股东。

2019年12月16日,江西住友富士电梯在经营范围里增加了“厂房租赁”项目。

图片

2022年6月6日,江西住友富士电梯注册资本从2.06亿元减少到5000万元。

2022年9月2日,江西中南环保设备有限公司入股江西住友富士,持股26%。

2023年1月6日,江西住友富士电梯股东持股比例再次做出变更,住友富士电梯有限公持股变成了49%,变成了小股东,失去了对该公司的控制权。江西中南环保设备有限公司持股51%,变成了控股股东。

图片


规划好的电梯厂,这是在造电梯吗?怎么还搞起了出租呢?


文章推荐:
(1)台湾电梯维保员:如何能达到月薪5万?
(2)孙空悟从电梯轿顶出来了!不扶墙服你!
(3)【电梯招聘 求职 回收 资质 招商 】第607期:有检验员岗位/有资质转让
(4)干货:电梯125%制动试验步骤简述!

电梯安装工/维保工保险/电梯责任险



电梯雇主责任险、电梯责任险、火热销售中,小投入大保障,大品牌值得信赖!收到保单以后拨打保险公司官方客服电话,即可核实你的投保信息。正规保险,有发票。:(同微信号)

图片


长按这个二维码免费

商务合作请致电:

声明:文章部分图文版权归原创作者所有,不做商业用途,如有侵权,请与我们联系删除。
来源:聚展网
展位咨询
电梯行业展会
广州国际电梯展览会
2024.08.23-08.25
Elevator Guangzhou
德国纽伦堡电梯展览会
2025.10.14-10.17
INTERLIFT
美国电梯展览会
2024.09.23-09.26
NAEC
俄罗斯莫斯科电梯展览会
2025.06.07-06.09
Russian Elevator Week
巴西圣保罗电梯展览会
2025.05.06-05.08
Expo Elevador
越南胡志明电梯展览会
2024.12.05-12.07
VIETNAM ELEVATOR EXPO
土耳其伊斯坦布尔电梯展览会
2025.04.24-04.27
Asansör Istanbul
阿尔及利亚电梯展览会
2024.04.22-04.24
LIFT EXPO ALGERIA
中东迪拜电梯展览会
2024.09.16-09.18
Elevator Show
  • icon 电话
    展位咨询:0571-88683357
    观众咨询:0571-88611413
  • icon 客服
  • icon 我的
  • icon 门票
  • 展位
    合作
Baidu
map