点击蓝字
京东方:“一种光波导器件及AR显示装置”专利,可提高光效
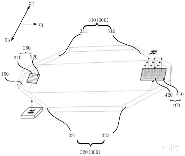
国家专利局消息显示,北京京东方技术开发有限公司“一种光波导器件及AR显示装置”专利公布,申请公布日为2024年3月26日,申请公布号为CN117761825A。专利可提高AR显示设备的光效。
图片来源:国家专利局
专利信息显示,本公开提供一种光波导器件及AR显示装置,所述光波导器件包括:光波导板,及设于所述光波导板上的耦入光栅、反射元件和耦出光栅;其中,所述耦入光栅被配置为将入射光耦入至所述光波导板中,并在所述光波导板中形成衍射光线;所述反射元件被配置为接收来自所述光波导板中的所述衍射光线,并将所述衍射光线反射至所述耦出光栅;所述耦出光栅被配置为接收来自所述反射元件反射的衍射光线,并将所述衍射光线射出。本公开实施例提供的光波导器件及AR显示装置,其是提供了一种AR增强现实显示系统的新架构,能够提高光效。 据悉, 京东方在AR/VR设备领域上,可提供Micro OLED显示模组和Fast LCD模组,尺寸包含0.39英寸至5.5英寸 ,具有高分辨率,快速响应,高刷新率等特点,可应用于多种微显示场景。另外,京东方的MLDE技术也可为VR/AR等领域显示产品提供高品质及高可靠性的 LED 背光产品。 此前,京东方发布了多款微显示新品,包括全球首发的1.3英寸双目4K Micro OLED显示屏,像素密度达4000+PPI,亮度达5000nits。京东方还推出了超薄大视角的Si-OLED双目光学系统,具有高亮度与显示密度的同时,产品更加轻薄。 北京大学:申请Micro LED芯片专利,可降低制备复杂度
据国家知识产权局公告,北京大学申请一项名为“一种基于无掩模二次外延的Micro-LED芯片阵列的制备方法“,公开号CN117766642A,申请日期为2023年12月。该专利可降低Micro LED制备工艺的复杂度。
图片来源:国家专利局
专利摘要显示,本发明公开了一种基于无掩模二次外延的Micro LED芯片阵列的制备方法。本发明通过对GaN模板进行干法刻蚀,形成应力弛豫图形化GaN模板,再在应力弛豫图形化GaN模板基础上选区二次外延多量子阱等结构,有效避免对多量子阱区域进行干法刻蚀,从而避免了多量子阱的侧壁刻蚀损伤;应力弛豫图形化GaN模板使得n型掺杂的GaN受到的应力得到有效弛豫;在应力弛豫图形化GaN模板上生长的预应力层,所受到的压应力得到部分弛豫,面内晶格常数得到扩张,从而减小铟并入所需要的能量,增加多量子阱中铟的并入;在制备应力弛豫图形化GaN模板中的刻蚀,使得只有GaN微米柱阵列的顶面为c面,作为生长面;选区二次外延生长,不需要额外的掩模,降低了Micro LED制备工艺的复杂度。
来源:LEDinsde
声明: 本文章版权归原作者及原出处所有,只提供参考并不构成投资及应用建议。本平台上部分文章为转载,不用于商业目的,如有涉及侵权请及时联系告知我们,我们会尽快处理。本对此声明拥有最终解释权。
更多资讯
展会精彩回顾
点一下 赞和在看 再走吧
参考资料:
UDE
举办地区:广东
展会日期:2026年03月01日-2026年03月03日
开闭馆时间:09:00-18:00
举办地址:深圳市福田区福华三路
展览面积:80000
观众数量:80000
举办周期:1年1届
主办单位:UDE组委会

